TechCalc 3.0

{{ 'Total heatloss cost = Energy cost + CO2 cost' | translate}}

{{"Total installation cost = Material cost + Labour cost" | translate }}

{{"Logistics cost = Warehouse cost + Transport cost" | translate }}

Orientation Indoor (horizontal,vertical):

ISO. VDI, ASTM : (Definition ISO "inside buildings") only free convection calculation, no wind velocity

Orientation Outdoor (horizontal,vertical):

ISO: (Definition ISO "outside buildings") only forced convection with wind velocity
VDI, ASTM: Mix of free and forced convection

Orientation Approximation (horizontal, vertical):

ISO, VDI: Calculation method for indoor and outdoor
ASTM: no approximation calculation method

Orientation Underground pipe:

ISO. VDI : only component pipe, same calculation methods in standards ISO, VDI
ASTM: no specific calculation method for underground pipe in this standard but use of ISO, VDI equations

Orientation Ground horizontal area:

(p 3-120 Table 7 Handbook Heat Transfer (1973 Rohsenow and Hartnett)
only components wall, cube , cylinder with checked option Subcomponent
With components cube , cylinder additional selection of single button Bottom

Efficiency here means the factor of necessary final energy (oil,gas, electricity...) to the heating or cooling energy generated with it ( factor = Qfinal energy/Qproduced energy);
for hot systems with heating systems this value is >=1;
for cooling systems with heat pumps/compressors this value is ‹=1.

The Global Emission Model of Integrated Systems (GEMIS)

The Global Emission Model of Integrated Systems (GEMIS) is a freely available computer model with integrated database for life cycle and life cycle assessment and material flow analysis as well as the carbon footprint for energy, material and transport systems.

GEMIS was developed by the Öko-Institut Darmstadt Germany and was created in its first version in 1989 with funding from the Hessian Ministry of Environment and Economics. Since then, it has been continuously updated and extended with funding from, among others, the German Federal Ministry for the Environment, the German Federal Ministry of Research, as well as the German Federal Environmental Agency, the GIZ, the EEA, and EU projects.

In April 2012, GEMIS was transferred to the International Institute for Sustainability Analysis and Strategies (IINAS) http://iinas.org/about.html, which will take over further development and data maintenance.

GEMIS is used in over 30 countries for environmental and cost analysis. The values for electricity mix are very dependent on the regional production of electricity (coal,gas,oil,water nuclear power plant)

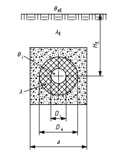
Necessary information for underground component:

{{ 'Ground temperature' | translate }} : θsE

Depth (He) must be greater than 0.5 x diameter insulated component (Da)

Depth (He) must be greater than 0.54 x Backfill (a)

{{ 'Ground thermal conductivity' | translate }} : λE

Necessary information for Underground component with cooling and freezing water:

The combination of a buried single pipe and at the same time the freezing time with the known ISO/VDI calculation methods can only be considered as a very simple approximation method due to the thus also stationary temperature boundary conditions (ground temperature).With an implementation one must know the limitations existing by these approximation procedures.
The calculation of buried pipelines according to ISO/VDI assumes a constant medium temperature and a constant ground temperature.
This means a first approximation, since the variable earth temperature is not considered.
The calculation of freezing time also calculates a cooling of this medium temperature down to the freezing point of water due to the lower ground temperature.
With a combination of these methods as a second approximation only the heat flow with the medium temperature at the beginning can be determined.
In the literature, the thermal conductivity of a frozen soil. is also very different, but always significantly higher than that of an unfrozen soil (third approximation). With these approximations an error estimation is difficult.
These limitations must also be known when interpreting results. Additional references to these boundary conditions of the calculation are then recommended.

{{ 'Open Project File' | translate }}

{{ 'Supported project formats' | translate }} : json, csv, xls, xls

{{ 'Cancel' | translate }} {{ 'Open' | translate }}

{{ 'Are you sure you want to save the changes?' | translate }}

{{ 'Cancel' | translate }} {{ 'Save' | translate }}

{{ 'Are you sure you want to delete this entry?' | translate }}

{{ 'This action cannot be undone.' | translate }}

{{ 'Cancel' | translate }} {{ 'Delete' | translate }}

{{ 'Are you sure you want to create a new project?' | translate }}

{{ 'Please make sure to save current project first.' | translate }}

{{ 'Cancel' | translate }} {{ 'Yes' | translate }}
Close

Choose

File